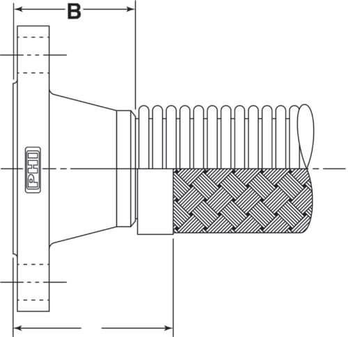
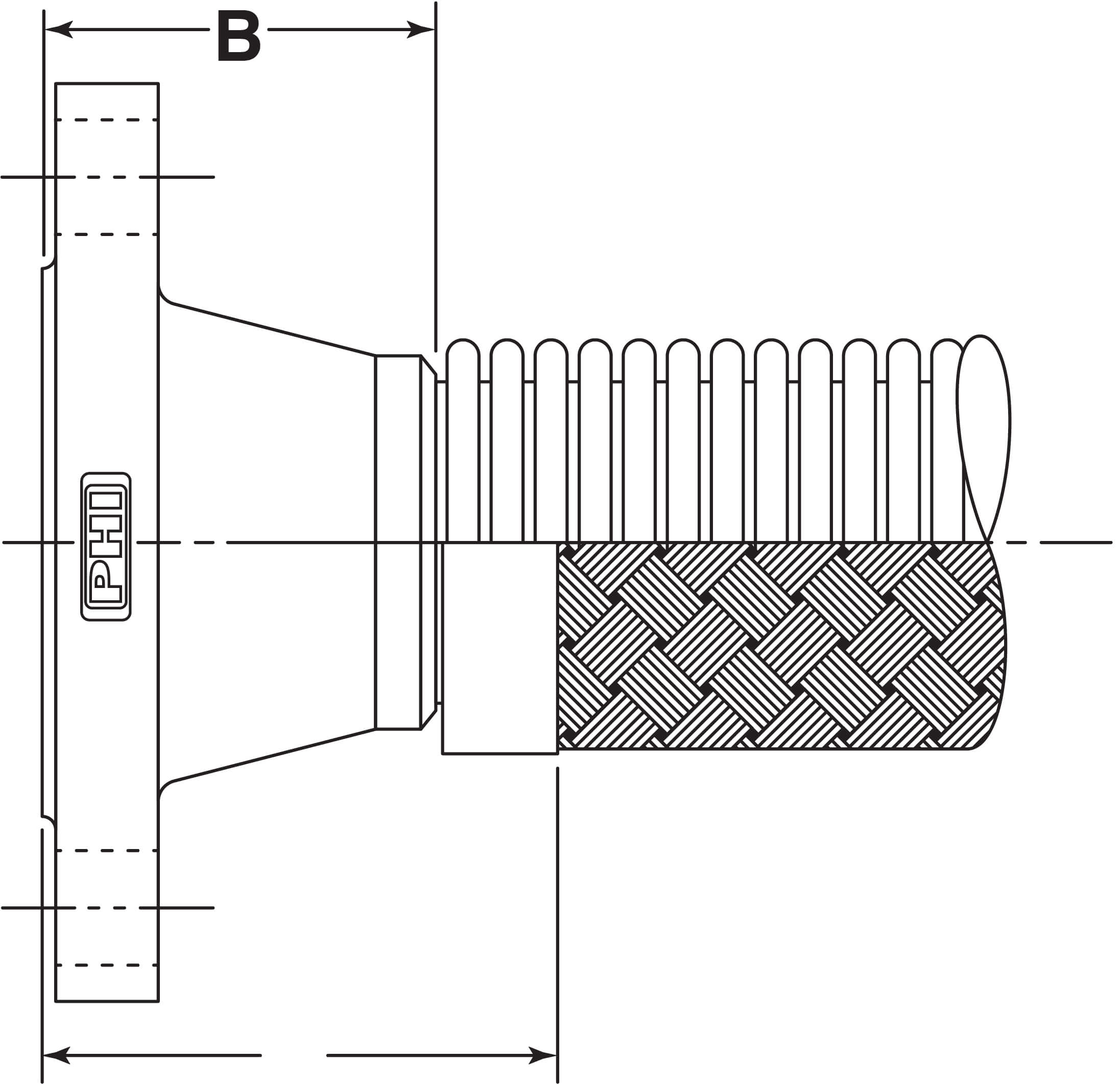
Line Art for Weld Neck Flange