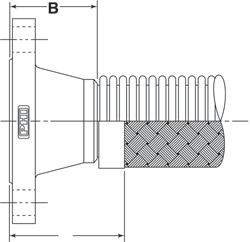
welded-neck-flange line art